Лев Певзнер - ТРИЗ для «чайников» – 3. Законы развития технических систем, том 1, издание 2-е исправленное и дополненное

Здесь есть возможность читать онлайн «Лев Певзнер - ТРИЗ для «чайников» – 3. Законы развития технических систем, том 1, издание 2-е исправленное и дополненное» — ознакомительный отрывок электронной книги совершенно бесплатно, а после прочтения отрывка купить полную версию. В некоторых случаях можно слушать аудио, скачать через торрент в формате fb2 и присутствует краткое содержание. ISBN: , Жанр: popular_business, Технические науки, на русском языке. Описание произведения, (предисловие) а так же отзывы посетителей доступны на портале библиотеки ЛибКат.

ТРИЗ для «чайников» – 3. Законы развития технических систем, том 1, издание 2-е исправленное и дополненное: краткое содержание, описание и аннотация

Предлагаем к чтению аннотацию, описание, краткое содержание или предисловие (зависит от того, что написал сам автор книги «ТРИЗ для «чайников» – 3. Законы развития технических систем, том 1, издание 2-е исправленное и дополненное»). Если вы не нашли необходимую информацию о книге — напишите в комментариях, мы постараемся отыскать её.

Одно из главных положений ТРИЗ – все технические системы развиваются по определенным законам. Их можно изучить и использовать в своей работе, чтобы быстро находить пути развития технической системы. Эта книга о законах развития технических систем.Книга предназначена для студентов, инженеров, бизнесменов, специалистов по рекламе, менеджеров, учителей и просто творческих людей, желающих использовать инструменты и методику ТРИЗ в технике и жизни, и не имеющих предварительной подготовки.

ТРИЗ для «чайников» – 3. Законы развития технических систем, том 1, издание 2-е исправленное и дополненное — читать онлайн ознакомительный отрывок

Ниже представлен текст книги, разбитый по страницам. Система сохранения места последней прочитанной страницы, позволяет с удобством читать онлайн бесплатно книгу «ТРИЗ для «чайников» – 3. Законы развития технических систем, том 1, издание 2-е исправленное и дополненное», без необходимости каждый раз заново искать на чём Вы остановились. Поставьте закладку, и сможете в любой момент перейти на страницу, на которой закончили чтение.

Тёмная тема
Сбросить

Интервал:

Закладка:

Сделать

И если мы относим то или иное техническое решение к одному из законов, то это всего лишь, чтобы лучше изучить и понять те приемы и шаги в законах развития технических систем, которые помогут Вам лучше работать со своей системой.

В первом томе мы подробно рассмотрим общие законы развития технических систем, упомянутые выше, а также некоторые тенденции развития, которые вытекают из этих законов.

Во втором томе [5], будут рассмотрены три закона, определяющие тенденции развития технической системы в рамках одной S-кривой 6 6 Законы предложены Г. С. Альтшуллером на базе приемов устранения противоречий и развиты его учениками. . Эта, более глубоко проработанная в ТРИЗ, и наиболее инструментальная группа законов, включает в себя:

– закон повышения динамичности и управляемости;

– закон развертывания-свертывания;

– закон согласования-рассогласования.

Для описания частных законов и алгоритмов я буду использовать некоторые термины, которые, как мне кажется, наиболее точно определяют суть описываемых явлений:

Тенденция – склонность технической системы развиваться в определенном направлении, по определенным правилам. Это значит, что движение в этом направлении не обязательно, но наиболее вероятно.

Линия развития– предполагаемая последовательность шагов в развитии технической системы, которая повышает ее идеальность и, которая наиболее вероятна при развитии системы.

Микростандарт– модель задачи-аналога, которая реализуется в рамках тенденции или линии развития. Микростандарт подсказывает возможные решения проблемы или шаги в развитии технической системы, в рамках определенной тенденции.

Миниалгоритм– последовательность из нескольких шагов, подсказывающая основные этапы анализа при поиске решения в конкретных условиях.

Раздел 1. Классификация изобретений и потребностей

Изобретения бывают разные. Одни – маленький шаг в улучшении системы, другие – радикально меняют общество.

В 1981 году мне пришлось решать проблему на Верх-Исетском металлургическом заводе.

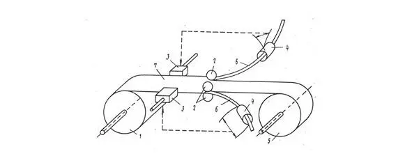
При обрезке кромок стальной полосы на агрегате продольной резки, необходимо центрировать полосу (7), чтобы обрезать дисковыми ножами (2) достаточно широкие кромки, удаляя все трещины. Но полоса постоянно движется в сторону, поэтому специальный рабочий постоянно регулирует ее положение на агрегате резки рулонов. Чтобы автоматизировать работу агрегата, предложено пропускать обрезаемую кромку (6) через кольцо двух электрических контуров (4). Через один пропускается переменный ток, который наводит ток во второй обмотке. При этом, чем больше ширина обрезаемой кромки, тем больше сигнал. Сигналы, получаемые с двух сторон полосы, сравниваются, и их разность направляется в управляющее устройство (3), которое эффективно заменяет рабочего.

Рисунок 1 Схема установки центрирования полосы В этом примере в системе - фото 1

Рисунок 1. Схема установки центрирования полосы

В этом примере, в системе выполнено небольшое изменение – введена управляющая система. Но это изобретение и на него выдано А. С. N 958 047. И таких изобретений каждый инженер может сделать много. Эти небольшие изобретения мало влияют на развитие общества в целом, хотя и решают нужные задачи в определенных условиях.

Наряду с этим, есть изобретения, которые радикально меняют общество. В 1938 году инженеры Эрик Фосет и Реджинальд Гипсон разработали промышленное производство полиэтилена. Первое назначение нового материала – покрытие телефонного кабеля. Теперь мы понимаем, что это было крайне узкое применение полиэтилена, но даже его было достаточно для организации экономически оправданного массового производства.

В годы Второй мировой войны англичане применяли полиэтилен для производства радаров. А в 1950-х годах началось массовое применение полиэтилена в самых разных областях:

– упаковка (тара, емкости и пакеты),

– трубы для строительства,

– различные детали оборудования и многое другое.

Вскоре, в середине 1950-х был разработан аналогичный материал – полипропилен. У него были еще больше возможностей – это детали автомобилей, оконные рамы, обшивка домов…

Фактически применение этих материалов радикально изменили многие технологии в строительстве, упаковке, химию, электротехники и других отраслях.

Чем же отличаются эти изобретения?

Читать дальше
Тёмная тема
Сбросить

Интервал:

Закладка:

Сделать

Похожие книги на «ТРИЗ для «чайников» – 3. Законы развития технических систем, том 1, издание 2-е исправленное и дополненное»

Представляем Вашему вниманию похожие книги на «ТРИЗ для «чайников» – 3. Законы развития технических систем, том 1, издание 2-е исправленное и дополненное» списком для выбора. Мы отобрали схожую по названию и смыслу литературу в надежде предоставить читателям больше вариантов отыскать новые, интересные, ещё непрочитанные произведения.


Отзывы о книге «ТРИЗ для «чайников» – 3. Законы развития технических систем, том 1, издание 2-е исправленное и дополненное»

Обсуждение, отзывы о книге «ТРИЗ для «чайников» – 3. Законы развития технических систем, том 1, издание 2-е исправленное и дополненное» и просто собственные мнения читателей. Оставьте ваши комментарии, напишите, что Вы думаете о произведении, его смысле или главных героях. Укажите что конкретно понравилось, а что нет, и почему Вы так считаете.

x