Валерий Шилов - Удивительная история информатики и автоматики

Здесь есть возможность читать онлайн «Валерий Шилов - Удивительная история информатики и автоматики» — ознакомительный отрывок электронной книги совершенно бесплатно, а после прочтения отрывка купить полную версию. В некоторых случаях можно слушать аудио, скачать через торрент в формате fb2 и присутствует краткое содержание. Год выпуска: 2013, ISBN: 2013, Издательство: ЭНАС-КНИГА, Жанр: Прочая околокомпьтерная литература, на русском языке. Описание произведения, (предисловие) а так же отзывы посетителей доступны на портале библиотеки ЛибКат.

Удивительная история информатики и автоматики: краткое содержание, описание и аннотация

Предлагаем к чтению аннотацию, описание, краткое содержание или предисловие (зависит от того, что написал сам автор книги «Удивительная история информатики и автоматики»). Если вы не нашли необходимую информацию о книге — напишите в комментариях, мы постараемся отыскать её.

Популярная серия «О чем умолчали учебники» Издательства ЭНАС пополнилась новой книгой «Удивительная история информатики и автоматики» Валерия Шилова. В книге собраны интересные сведения и малоизвестные факты из истории развития автоматики, робототехники, информационных и компьютерных технологий.
Особое внимание автор уделяет происхождению ключевых терминов информатики, а также важным эпизодам творческой жизни изобретателей и ученых.
Книга написана увлекательным языком и способна вызвать живой интерес у всех, кто интересуется вопросом истории происхождения популярной нынче сферы компьютерных и вычислительных технологий.
Какой древний среднеазиатский ученый дал свое имя алгоритму? Как выглядели первые компьютеры, и кто впервые сделал компьютер персональным?
Почему Жюля Верна называют предвестником технических инноваций? Что такое арифмометр-фортепиано? Как в разных странах называют знак @, и как звучал первый в мире адрес электронной почты? Кто придумал термин «телекоммуникация»? Как выглядели первые в мире роботы и автоматы? Книга Валерия Шилова отвечает на эти и многие другие вопросы, которые могут возникнуть у всех интересующихся историей информатики, автоматики и вычислительной техники.

Удивительная история информатики и автоматики — читать онлайн ознакомительный отрывок

Ниже представлен текст книги, разбитый по страницам. Система сохранения места последней прочитанной страницы, позволяет с удобством читать онлайн бесплатно книгу «Удивительная история информатики и автоматики», без необходимости каждый раз заново искать на чём Вы остановились. Поставьте закладку, и сможете в любой момент перейти на страницу, на которой закончили чтение.

Тёмная тема
Сбросить

Интервал:

Закладка:

Сделать
Релейный автомат Кейстера внешний вид Ячейка игрового поля машины Кейстера В - фото 82
Релейный автомат Кейстера (внешний вид)
Ячейка игрового поля машины Кейстера В этом патенте был описан релейный - фото 83
Ячейка игрового поля машины Кейстера

В этом патенте был описан релейный автомат, предназначенный для игры в крестики-нолики. На лицевой панели машины расположены девять индикаторных панелей игрового поля A-J. Рядом с каждой из панелей помещена кнопка. Нажимая на нее, игрок сообщает автомату свой ход, при этом на индикаторной панели загорается соответствующий символ. Также имеются две индикаторных кнопки: WIN (загорается, когда автомат выигрывает партию) и AL1 (загорается, если игрок случайно нажимает две кнопки одновременно) и две управляющие кнопки RL и AL, предназначенные для «очистки» состояния автомата перед началом новой партии.

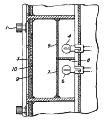
Отдельно стоит отметить интересное решение, которое применил Кейстер для того, чтобы иметь возможность отображать на каждой индикаторной панели как крестики, так и нолики. Оно основано на применении поляризационных фильтров. На рисунке представлен разрез индикаторной панели (1 — кнопка ввода очередного хода).

Сверху панель прикрыта слоем прозрачного материала з, а пространство за ним разделено светонепроницаемой перегородкой 8 на две половины, в каждой из которых имеется по электрической лампочке (4 и 5). Обе половины закрыты поляризационными фильтрами, причем фильтр 6 пропускает только вертикально, а фильтр 7 — горизонтально поляризованную составляющую света лампочки. Под слоем прозрачного материала 3 имеются еще два поляризующих фильтра — 9 (с той же поляризацией, что и 6) и 10 (с той же поляризацией, что и 7). При этом в фильтре 9 имеется вырез в виде креста, а в фильтре 10 — в виде ноля. Таким образом, когда загорается лампа 5, лучи горизонтально поляризованной составляющей пройдут сквозь фильтры 7 и 10 и будут задержаны фильтром 9, в вырезе которого будет светиться символ «X». Аналогично, когда загорается лампа 4, в вырезе фильтра 10 виден светящийся символ «о».

Заявку на патент Кейстер подал еще в ноябре 1950 года, а получил его лишь спустя 9 лет, однако в это десятилетие получили широкое распространение другие игровые машины. И немаловажную роль в этом сыграли релейные автоматы Эдмунда Беркли.

Эдмунд Беркли Имя Эдмунда Каллиса Беркли хорошо известно в компьютерном мире и - фото 84
Эдмунд Беркли

Имя Эдмунда Каллиса Беркли хорошо известно в компьютерном мире и пользуется в нем огромным уважением. Окончив Гарвардский университет с дипломом математика, он работал в одной из крупнейших американских страховых компаний, и эта работа привела его к мысли о необходимости использования в страховом деле вычислительных машин. Он живо интересовался ходом работ Дж. Стибица и Г. Айкена над релейными компьютерами и сам принимал в них участие, выдвигал собственные предложения по созданию электронного компьютера и убеждал свою компанию заказать ЭВМ у создателей ENIAC Д. Моучли и П. Эккерта. Беркли был одним из организаторов первых профессиональных обществ в области вычислительной техники и автором первых популярных книг о компьютерах. Однако компьютер в понимании Беркли вовсе не был большим арифмометром для решения вычислительных задач. Он считал, что компьютер должен решать задачи интеллектуальные — отсюда возник его многолетний интерес к роботам.

В 1950–1951 годах он построил свои первые релейные автоматы — вычислитель Саймон и робота-белку Скви. За ними последовали другие роботы и автоматы. В марте 1956 года на одной из выставок он показал релейную машину для игры в «крестики-нолики», которую назвал Релейным Моу (Relay Мое — это название рифмуется с названием игры «tit-tat-toe»).

Внешне машина Беркли походила на машину Кейстера. Автомат состоял из 90 реле и мог играть на поле 3x3 против человека, причем можно было выбрать один из нескольких режимов (безошибочная игра, при которой робот не проигрывал, менее сильная игра, когда противник мог одержать победу и др.).

Еще один свой автомат для игры в крестики-нолики Беркли назвал Переключательной машиной (Switch Tit Tat Toe Machine) — поскольку каждая клетка игрового поля в нем была представлена многопозиционным переключателем. Точнее, это был полуавтомат — когда человек делал свой ход (изменял положение соответствующего переключателя), машина посредством загорающейся лампочки немедленно сообщала ему свой ответ, и тот должен был сделать этот ход за нее.

Читать дальше
Тёмная тема
Сбросить

Интервал:

Закладка:

Сделать

Похожие книги на «Удивительная история информатики и автоматики»

Представляем Вашему вниманию похожие книги на «Удивительная история информатики и автоматики» списком для выбора. Мы отобрали схожую по названию и смыслу литературу в надежде предоставить читателям больше вариантов отыскать новые, интересные, ещё непрочитанные произведения.


libcat.ru: книга без обложки
Валерий Дымшиц
Отзывы о книге «Удивительная история информатики и автоматики»

Обсуждение, отзывы о книге «Удивительная история информатики и автоматики» и просто собственные мнения читателей. Оставьте ваши комментарии, напишите, что Вы думаете о произведении, его смысле или главных героях. Укажите что конкретно понравилось, а что нет, и почему Вы так считаете.

x