| Лимонная кислота |
¼ чайной ложки |
| Соль поваренная |
50 граммов |
| Черносмородинный лист |
20 граммов |
| Укроп |
30 граммов |
| Чеснок |
10 граммов |
Сваренные грибы помещают в деревянные кадочки или в стеклянные банки и закатывают.
Пластинчатые грибы можно варить до готовности с добавлением только соли (60 граммов на 1 килограмм грибов). Затем уложить их в стеклянные банки и закатать.

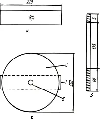
Рис. 2. Барабан для тепловой обработки продуктов.
Для предохранения грибов от возможной порчи при хранении в относительно теплых помещениях лучше всего после закатки грибы стерилизовать в кипящей воде. Для этой цели можно использовать простейшее приспособление из двух деревянных или стальных кружков, между которыми зажимают стеклянные банки (рис. 2 и 3) — это приспособление ставят для нагревания в кастрюлю. Время стерилизации для банок емкостью 0,5 литра — 10 минут, а для литровых банок — 15—20 минут после начала кипения воды.

Рис. 3. Схема устройства барабана:
а — верхняя и нижняя стальные пластинки с отверстием (в верхней пластинке отверстие 12 мм , в нижней 10 мм ); б — штырь; в — деревянный круг с нижней пластиной: 1 — нижняя пластинка; 2 — штырь; 3 — нижний деревянный круг.
Такое приспособление используют для стерилизации любых продуктов в закатанных стеклянных банках.
Солить в сыром виде можно рыжики, грузди, волнушки, белянки, сыроежки и валуи.
Для соления отбирают вполне свежие молодые, крепкие грибы. Грибы переросшие, червивые и ломаные солить нельзя.
Каждый вид грибов солят отдельно.
Перед засолкой грибы тщательно моют. Сначала их помещают в бочку, кадку или ведра для отмочки прилипшей грязи и лесного сора, а затем ополаскивают под душем. Ножки отрезают, оставляя 1—2 сантиметра под шляпкой.
Рыжикидля засолки сортируют по размерам на мелкие, средние и крупные. Но можно солить вместе грибы всех размеров, если их собрано мало.
Груздиимеют горький привкус. Для удаления этого привкуса их перед засолкой вымачивают в холодной воде в течение 3 суток, меняя воду не менее трех раз в сутки. Вымачивают грибы в холодном помещении или чаще меняют воду (через каждые 3—4 часа). При вымочке в теплом помещении грибы могут закиснуть.
Волнушки и белянкиготовят к засолке так же, как грузди. Готовность их после вымочки определяют по ломкости шляпок. Если шляпка не ломается, а гнется — грибы можно солить.
Валуидля засолки отбирают только молодые, мелкие. Края шляпок этих грибов должны примыкать к ножке. Ножки обрезают вровень со шляпкой. Валуи вымачивают в течение трех суток, 5 раз в сутки меняя воду. После вымочки валуи, сложенные в корзины, ошпаривают крутым кипятком.
Засаливают пластинчатые грибы в бочках или другой таре, подготовленной надлежащим образом.
Дно бочек посыпают тонким слоем поваренной соли, после чего начинают укладывать грибы рядами, шляпками вниз. Каждый ряд грибов пересыпают солью (600 граммов соли на 10 килограммов грибов). После заполнения бочки грибами на последний ряд грибов кладут деревянный круг, а на него — груз из камней (гранит, голыши); вес груза должен быть равен половине веса грибов.
Через несколько дней, когда грибы в бочке осядут и выступит рассол, часть рассола сливают, а бочку дополняют грибами и вновь оставляют под гнетом. Когда грибы вторично осядут, снова часть рассола сливают, и бочку снова дополняют грибами. На верхний ряд грибов кладут чистые капустные листья, а бочку закупоривают. Хранят грибы в холодном погребе или в леднике при температуре от 0 до −5°.
В более мелкой таре грибы засаливают так же, как в бочках. После осадки грибов на них кладут чистый деревянный круг с грузом.
За солеными грибами ухаживают так же, как за маринованными.
Соленые грибы можно консервировать. Для этого их кладут в стеклянные банки, заливают 3%‑ным рассолом и нагревают в кипящей воде, после чего банки закатывают и ставят на хранение в наиболее прохладное место.
Сушить можно все съедобные трубчатые грибы. В отличие от белых грибов другие грибы после сушки становятся черными.
Читать дальше