
Рис. 8.1. Идеальный одномерный ящик. Его стенки бесконечно высокие, бесконечно толстые, бесконечно массивные и совершенно непроницаемые. В ящике нет сопротивления воздуха. Внутри ящика потенциальная энергия Qравна нулю, а снаружи — бесконечности. Ящик имеет длину L
На рис. 8.2 изображён мяч для игры в ракетбол, отскакивающий от стенок идеальной одномерной классической (большой) ракетбольной площадки. Как уже было сказано, эти стенки идеальные, а внутри нет сопротивления воздуха. Кроме того, мяч тоже идеален, то есть обладает абсолютной упругостью. Когда мяч сталкивается со стенкой, он сжимается, как пружина, и снова распрямляется, что вызывает его отскок. Реальные мячи не идеально упругие. Когда мяч сжимается при ударе, не вся энергия, затраченная на его сжатие, идёт на отталкивание от стены. Часть энергии, затраченной на сжатие мяча, идёт на его нагрев. Однако здесь мы будем считать мяч идеально упругим. При ударе о стену вся кинетическая энергия мяча, которая обусловливает его сжатие, расходуется затем на отталкивание мяча от стены. Поэтому скорость мяча перед самым столкновением со стеной равна скорости его отскока после столкновения.

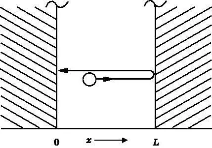
Рис. 8.2. Мяч на идеальной одномерной ракетбольной площадке. Сопротивление воздуха отсутствует, а мяч идеально упруг. Когда мяч ударяется об стену в точке L, он отскакивает, ударяется об стену в точке 0 и продолжает отскакивать взад и вперёд, поскольку площадка идеальна, мяч идеален и нет сопротивления воздуха. Начав так отскакивать, мяч будет бесконечно долго продолжать двигаться туда-обратно
На этой идеальной ракетбольной площадке мяч отскакивает от стен без какой-либо потери энергии; кроме того, нет ни сопротивления воздуха, ни гравитации. Поэтому мяч будет вечно двигаться туда-обратно, отражаясь от стен. Он ударится о стену в точке L , отскочит, столкнётся со стеной в точке 0, снова отскочит и будет продолжать своё движение взад и вперёд. Внутри ящика, поскольку потенциал равен нулю (см. рис. 8.1), никакие силы на мяч не действуют. Поэтому его энергия является чисто кинетической:
E k=½ m ∙ V 2,
где m — масса мяча, а V — его скорость. Если мяч испытает слабые внешние воздействия, его скорость станет немного меньше и значение E kтоже немного уменьшится. В этом идеальном ракетболе энергия может меняться непрерывным образом. Значение E kможет увеличиваться или уменьшаться произвольным образом в зависимости лишь от силы воздействия на мяч.
Другая важная особенность классического ракетбола — это возможность остановить мяч так, чтобы он неподвижно лежал на полу. В этой ситуации его скорость равна нулю: V =0. А раз V =0, то и E k=0. При V =0 импульс тоже равен нулю, поскольку p = m ∙ V , так что импульс известен нам точно. Если мяч лежит на полу ( V =0), то его положение известно. Если обозначить это положение x (см. рис. 8.2), то значение x будет находиться в интервале от 0 до L . Величина x не может принимать никакие другие значения, поскольку мяч находится на площадке (в ящике) и не может оказаться снаружи из-за идеальных стенок. Мяч можно поместить в определённое положение x на полу площадки, и тогда его положение будет известно точно. Это свойство макроскопической игровой площадки, даже идеальной. Это классическая система, и в ней можно точно и одновременно знать импульс p и положение x .
Площадка для игры в ракетбол имеет длину 12 м , диаметр мяча составляет 5,6 см , а его вес — около 0,04 кг . Очевидно, что игра в ракетбол описывается классической механикой. С помощью света можно следить за отскоками мяча туда-обратно, не влияя на них.
Частица в ящике — квантовый случай
 
Что изменится, если теперь мы перейдём к рассмотрению квантового ракетбола? Площадка остаётся идеальной, но теперь её длина не 12 м , а 1 нм (10 −9 м ). Кроме того, частица обладает массой электрона, равной 9,1∙10 −31 кг , а не 0,04 кг . Таким образом, это задача о квантовой частице в ящике.
Читать дальше