Тип данных int не очень хорошо подходит для измерения напряжения, так как представляет только целые числа, а нам было бы желательно видеть также дробную часть. Для этого следует использовать тип данных float.
Загрузите следующий скетч в плату Arduino и затем замкните скрепкой контакты A0 и 3.3V (рис. 1.15).

Рис. 1.15.Соединение контактов A0 и 3.3V
// sketch 01_06_analog
int analogPin = A0;
void setup()
{
Serial.begin(9600);
}
void loop()
{
int rawReading = analogRead(analogPin);
float volts = rawReading / 204.6;
Serial.println(volts);
delay(1000);
}
Откройте монитор последовательного порта, и вы должны увидеть поток чисел (рис. 1.16). Числа должны быть близки к значению 3,3.

Рис. 1.16.Вывод значений напряжения
ВНИМАНИЕ
Не замыкайте между собой контакты электропитания (5V, 3.3V и GND). Это может привести к выходу из строя платы Arduino, а может быть, и компьютера.
Если теперь один конец скрепки оставить соединенным с контактом A0, а другой подключить к контакту 5V, числа в мониторе изменятся и будут близки к 5 В. Теперь соедините контакт A0 с контактом GND, и вы увидите числа 0 В.
Аналоговые выходы
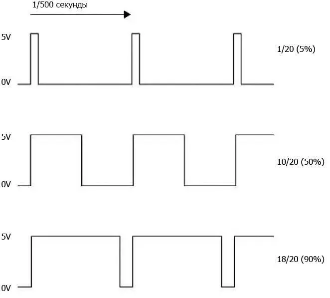
Плата Arduino Uno не имеет настоящих аналоговых выходов (такие выходы вы найдете на плате Arduino Due), но она имеет несколько выходов с широтно-импульсной модуляцией (Pulse-Width Modulation, PWM). Они имитируют аналоговые выходы, управляя длительностью импульсов (рис. 1.17).

Рис. 1.17.Широтно-импульсная модуляция
Чем длиннее положительный импульс, тем выше среднее напряжение на выходе. Так как импульсы следуют с частотой 500 раз в секунду, а большинство устройств, которые вам доведется подключать к выходам PWM, не обладают мгновенной реакцией, возникает эффект изменения напряжения.
Контакты, отмеченные на плате Arduino Uno значком ~ (контакты 3, 5, 6, 9, 10 и 11), можно использовать как аналоговые выходы.

Рис. 1.18.Измерение напряжения на выходе
Если у вас есть вольтметр, установите на нем диапазон измерения 0…20 В постоянного тока и подключите положительный щуп к контакту 6, а отрицательный — к контакту GND (рис. 1.18). Затем загрузите следующий скетч.
// sketch 01_07_pwm
int pwmPin = 6;
void setup()
{
pinMode(pwmPin, OUTPUT);
Serial.begin(9600);
}
void loop()
{
if (Serial.available())
{
int dutyCycle = Serial.parseInt();
analogWrite(pwmPin, dutyCycle);
}
}
Откройте монитор последовательного порта и введите число в диапазоне от 0 до 255 в текстовое поле в верхней части окна, слева от кнопки Send (Отправить). Затем щелкните на кнопке Send (Отправить) — вы должны увидеть, как на мультиметре изменится напряжение. Если послать число 0, напряжение должно упасть до 0. Отправка числа 127 должна дать середину между 0 и 5 В (2,5 В), а число 255 должно дать напряжение около 5 В.
В этом скетче функция loop начинается с оператора if. Условием для if является результат выполнения команды Serial.available(). То есть если монитор последовательного порта получил сообщение, выполняются команды внутри фигурных скобок. В этом случае команда Serial.parseInt преобразует текст сообщения, введенного в окне монитора порта, в значение типа int, которое затем передается как аргумент команде analogWrite для вывода импульсов на контакт.
Использование библиотек
Так как платы Arduino обладают весьма ограниченным объемом памяти, имеет смысл включать в программу, которая в конечном итоге окажется в плате, только тот код, который действительно потребуется. Один из способов добиться этого — использовать библиотеки. В Arduino и вообще в языке C под библиотекой понимается коллекция функций.
Например, Arduino IDE включает библиотеку для работы со светодиодным жидкокристаллическим дисплеем. Она занимает примерно 1,5 Кбайт памяти для программ. Нет никакого смысла подключать эту библиотеку, если она не используется, поэтому такие библиотеки подключаются только при необходимости.
Подключение выполняется добавлением директив #include в начало скетча. Добавить инструкции include для подключения любых библиотек, поставляемых в составе Arduino IDE, можно с помощью пунктов меню Sketch—>Import Library… (Скетч—>Подключить библиотеку).
Читать дальше