Федор Дубневич - Ремонт и отделка загородного дома

Здесь есть возможность читать онлайн «Федор Дубневич - Ремонт и отделка загородного дома» — ознакомительный отрывок электронной книги совершенно бесплатно, а после прочтения отрывка купить полную версию. В некоторых случаях можно слушать аудио, скачать через торрент в формате fb2 и присутствует краткое содержание. Город: СПб, Год выпуска: 2011, ISBN: 2011, Издательство: БХВ-Петербург, Жанр: Сад и огород, на русском языке. Описание произведения, (предисловие) а так же отзывы посетителей доступны на портале библиотеки ЛибКат.

Ремонт и отделка загородного дома: краткое содержание, описание и аннотация

Предлагаем к чтению аннотацию, описание, краткое содержание или предисловие (зависит от того, что написал сам автор книги «Ремонт и отделка загородного дома»). Если вы не нашли необходимую информацию о книге — напишите в комментариях, мы постараемся отыскать её.

В популярной и доступной форме рассмотрены основные вопросы отделки и ремонта загородных домов и дачных домиков с применением современных и традиционных технологий и материалов. Предложены способы самостоятельного выявления неисправностей и дефектов строительных конструкций. Подробно описаны практические шаги по ремонту основных элементов дома: фундамента, стен, цокольных, межэтажных и чердачных перекрытий, крыши и кровли, деревянных и железобетонных лестниц, межкомнатных перегородок. Рассмотрены наружная и внутренняя отделка, ремонт и замена полов, окон и дверей, возведение и ремонт печей, каминов, дымоходов и дымовых труб и др.
Для широкого круга читателей.

Ремонт и отделка загородного дома — читать онлайн ознакомительный отрывок

Ниже представлен текст книги, разбитый по страницам. Система сохранения места последней прочитанной страницы, позволяет с удобством читать онлайн бесплатно книгу «Ремонт и отделка загородного дома», без необходимости каждый раз заново искать на чём Вы остановились. Поставьте закладку, и сможете в любой момент перейти на страницу, на которой закончили чтение.

Тёмная тема
Сбросить

Интервал:

Закладка:

Сделать
Ремонт и отделка загородного дома - фото 87 Ремонт и отделка загородного дома - фото 88 Стропильная нога одним концом опирается на балку чердачного перекрытия либо на - фото 89 Стропильная нога одним концом опирается на балку чердачного перекрытия либо на - фото 90 Стропильная нога одним концом опирается на балку чердачного перекрытия либо на - фото 91

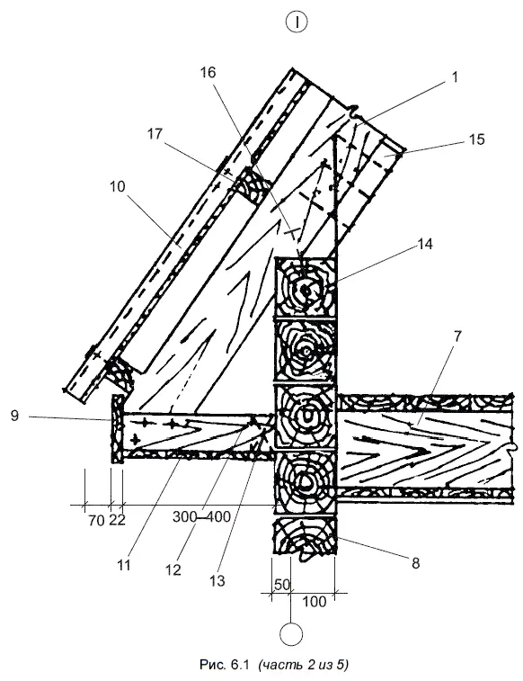
Стропильная нога одним концом опирается на балку чердачного перекрытия либо на венец из брусьев или бревен, а другим — на верхнюю часть стойки или обвязку. Низ стойки устанавливают на черепной брусок балки либо на нижнюю обвязку, а верх ее является опорой двухскатной треугольной фермы либо верхней обвязки. Стропила воспринимают вес кровли, снега и давление ветра. Сечения их рассчитывают в зависимости от длины пролета, угла наклона кровли и климатического района строительства.

В условиях северо-запада России и Подмосковья можно пользоваться данными табл. 6.1.

В современных условиях для элементов крыши чаще применяют обработанную - фото 92

В современных условиях для элементов крыши чаще применяют обработанную древесину хвойных пород в виде досок и брусьев, что значительно упрощает процесс устройства крыши.

Чтобы крышу не подняло ветром, стропила через одно скрепляются со стеной. В деревянных рубленых стенах стропила скрепляются скобами либо металлическим уголком со вторым венцом сруба. Обрешетка поддерживает всю конструкцию кровли. Ее выполняют обычно из брусков сечением 50×50 мм, а для рулонных кровель — в виде сплошного настила из досок толщиной 25 мм и шириной 100–120 мм (рис. 6.2 и 6.3).

Ремонт элементов крыш Из дефектов стропильной системы наиболее распространены - фото 93 Ремонт элементов крыш Из дефектов стропильной системы наиболее распространены - фото 94

Ремонт элементов крыш

Из дефектов стропильной системы наиболее распространены трещины (расслоение) стропильных и наклонных ног, сколы в узловых сопряжениях, прогибы стропильных ног или прогонов, гнили в конструктивных элементах стропил, ослабление болтовых и гвоздевых соединений.

Работы по смене деревянных элементов крыш выполняются с соблюдением определенных правил:

• установленные на крыше радио- и телевизионные антенны должны быть сняты до начала разборки конструкции крыши;

• до начала разборки конструкций крыши выполняется их закрепление от обрушения, а затем разборка кровли в месте ремонта;

• вся пораженная гнилью древесина немедленно убирается с чердака, вывозится и уничтожается, а годные элементы отбираются для дальнейшего использования;

• опорные части деревянных стропил тщательно изолируются от каменных и бетонных поверхностей, опорные подкладки укладывают на два слоя толя, а обращенные к стенам их поверхности смолят;

• сечения элементов стропил принимаются в соответствии с типовыми решениями или проектом; принимать сечения стропил по размерам существовавших без проверки расчетом не допускается;

• после установки стропила надежно крепятся проволокой к специально забитым в кладку ниже уровня опорных полок ершам, а элементы стропил скрепляются между собой болтами или скобами;

• обрешетка стропил и уклоны крыши выбираются в зависимости от материалов кровли;

• слуховые окна располагаются так, чтобы обеспечить проветривание чердака.

Ремонт обрешетки также выполняется с соблюдением определенных требований:

• вновь укладываемые бруски или доски обрешетки должны быть в одной плоскости с существующей обрешеткой;

• размеры элементов обрешетки должны соответствовать существующим.

Стропила крепятся к мауэрлатам болтами или скобами, при этом все поковки должны быть покрыты антикоррозийным составом.

Грани стропил, на которые крепится обрешетка, должны находиться в одной плоскости. Пропиливание граней стропил для выравнивания обрешетки не допускается.

Бруски и доски обрешетки прибиваются гвоздями к каждой стропильной ноге. Сечение брусков обрешетки и расстояние между ними должны соответствовать типу поддерживаемой кровли. Особенно тщательно выполняется обрешетка в разжелобках, у парапетных и брандмауэрных стен, дымовых труб и слуховых окон. Стыки досок обрешетки не следует располагать по одной линии, а шляпки гвоздей должны быть утоплены в древесину.

Читать дальше
Тёмная тема
Сбросить

Интервал:

Закладка:

Сделать

Похожие книги на «Ремонт и отделка загородного дома»

Представляем Вашему вниманию похожие книги на «Ремонт и отделка загородного дома» списком для выбора. Мы отобрали схожую по названию и смыслу литературу в надежде предоставить читателям больше вариантов отыскать новые, интересные, ещё непрочитанные произведения.


Отзывы о книге «Ремонт и отделка загородного дома»

Обсуждение, отзывы о книге «Ремонт и отделка загородного дома» и просто собственные мнения читателей. Оставьте ваши комментарии, напишите, что Вы думаете о произведении, его смысле или главных героях. Укажите что конкретно понравилось, а что нет, и почему Вы так считаете.

x