Елена Доброва - Строим баню

Здесь есть возможность читать онлайн «Елена Доброва - Строим баню» — ознакомительный отрывок электронной книги совершенно бесплатно, а после прочтения отрывка купить полную версию. В некоторых случаях можно слушать аудио, скачать через торрент в формате fb2 и присутствует краткое содержание. Город: Москва, Год выпуска: 2006, ISBN: 2006, Издательство: Вече, Жанр: Домоводство, на русском языке. Описание произведения, (предисловие) а так же отзывы посетителей доступны на портале библиотеки ЛибКат.

Строим баню: краткое содержание, описание и аннотация

Предлагаем к чтению аннотацию, описание, краткое содержание или предисловие (зависит от того, что написал сам автор книги «Строим баню»). Если вы не нашли необходимую информацию о книге — напишите в комментариях, мы постараемся отыскать её.

Часто увлекшись уходом за садовыми и огородными растениями, дачник проводить целый день, согнувшись над грядками. В результате к концу дня он едва может разогнуть спину, ощущает боль во всех мышцах. Издавна на Руси лучшим отдыхом и способом вернуть утраченные силы считалась баня. Эта книга содержит рекомендации по ее строительству, а также раскрывает некоторые секреты банных процедур.

Строим баню — читать онлайн ознакомительный отрывок

Ниже представлен текст книги, разбитый по страницам. Система сохранения места последней прочитанной страницы, позволяет с удобством читать онлайн бесплатно книгу «Строим баню», без необходимости каждый раз заново искать на чём Вы остановились. Поставьте закладку, и сможете в любой момент перейти на страницу, на которой закончили чтение.

Тёмная тема
Сбросить

Интервал:

Закладка:

Сделать

Уклон деревянной кровли – 28–45°.

Обрешетку выполните из брусков сечением 50 х 50 мм или жердей диаметром 60–70 мм, обтесанных на два канта. Карниз кровли и верхнюю приконьковую часть выкладывают из укороченных материалов, а рядовое покрытие – из полномерных.

Тесовая кровля

Тесовая кровля может быть одно– и двухслойной (чаще двухслойной). Доски для нее заготовьте прямые, ровные, без сучков и гнилых мест. Лучшее покрытие получается из строганых досок хвойных пород дерева толщиной 19–25 мм. Для того чтобы они служили дольше, предварительно обработайте их антисептиком, а готовую кровлю каждые 3–4 года покрывайте двумя слоями масляной водостойкой краски любого цвета.

Как известно, усыхание древесины может привести к образованию многочисленных трещин на ее поверхности.

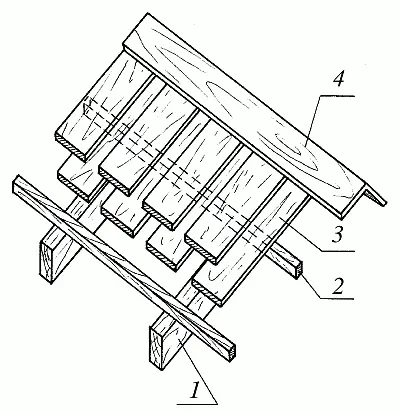
Чтобы этого не случилось, доски нижнего ряда покрытия необходимо укладывать выпуклостью годовых колец вверх, а верхнего ряда – вниз (рис. 41) .

Рис 41 Тесовая кровля 1 стропильная нога 2 обрешетина 3 доска 4 - фото 51

Рис. 41. Тесовая кровля: 1 – стропильная нога; 2 – обрешетина; 3 – доска; 4 – коньковая доска

Доски кладите перпендикулярно к коньку. При двухслойной кровле первый и второй слои досок ставьте впритык, не оставляя зазоров. При однослойном покрытии доски кладите вразбежку: первый ряд – с зазором, который затем перекройте досками второго ряда. Для прикрепления нижних досок к обрешетке в их середину вбейте гвоздь длиной 70 мм, а для прикрепления верхних по краям вбейте два гвоздя длиной 100 мм. Конек и ребра перекройте досками толщиной 25 мм, а швы между досками – специальными нащельниками. Для придания кровле особой декоративности доски можно располагать параллельно коньку, соединяя их внахлестку и располагая выпуклостью годовых колец вниз.

Кровля из драни

Кровля из драни традиционно используется в лесных районах Западной Украины (рис. 42) . Она отличается особой декоративностью, ярко выраженным национальным колоритом, легка и проста в изготовлении.

Рис 42 Кровля из драни 1 дрань 2 обрешетка из подтесанных жердей Уклон - фото 52

Рис. 42. Кровля из драни: 1 – дрань; 2 – обрешетка из подтесанных жердей

Уклон кровли из драни – 28–45°.

Обрешетку под такое покрытие сделайте из жердей или брусков сечением 50 х 50 мм, которые прибиваются на расстоянии 200–300 мм друг от друга.

Кровля из драни бывает двух-, трех– и четырехслойной. В горизонтальных рядах каждая дранка должна перекрывать другую на 25–30 мм. По скату верхние дранки перекрывают нижние на 1/2 длины при двухслойном покрытии, на 2/3 длины – при трехслойном и на 3/4 длины – при четырехслойном покрытии (рис. 43) .

Рис 43 Укладка драни 1 дрань 2 обрешетка Первый укороченный ряд драни - фото 53

Рис. 43. Укладка драни: 1 – дрань; 2 – обрешетка

Первый, укороченный, ряд драни уложите ворсистой стороной вниз, а все остальные (укороченные и полномерные) – ворсистой стороной вверх так, чтобы ворс был направлен по стоку воды. Все драницы в каждом ряду укладывайте внахлестку на 1/2 или 1/3 ширины. К обрешетке дрань следует прибить гонтовыми гвоздями 1,5 х 70 мм.

Горизонтальность укладываемых рядов проверьте по рейке, в которую упираются концы драниц. Конек сделайте из двух досок, прибитых поверх драночного покрытия.

Гонтовая кровля

Гонтовая кровля – самая дорогая и трудоемкая среди всех деревянных покрытий, но ее несомненными преимуществами являются прочность, долговечность и необычайная живописность (рис. 44) .

Рис 44 Гонтовая кровля а общий вид б гонтина 1 гонт 2 обрешетка - фото 54

Рис. 44. Гонтовая кровля: а – общий вид; б – гонтина; 1 – гонт; 2 – обрешетка; 3 – доски

Гонтовое покрытие отличается меньшей массой по сравнению с шиферным или черепичным, поэтому под него можно выбрать более легкую конструкцию кровли.

Под гонтовое покрытие не рекомендуется подкладывать какой-либо рулонный материал в качестве гидроизоляции, т. к. он препятствует вентиляции гонта, вызывая его загнивание.

Уклон гонтовой кровли – 30–50°.

Обрешетку под кровлю сделайте из жердей и брусков сечением 50 х 50 мм с шагом, равным одной трети длины гонта.

Чаще всего гонт изготавливается из древесины хвойных пород, а также дуба или бука ручной колкой или распиливанием. Первый способ предпочтительнее, т. к. материал, полученный при распиливании, имеет шероховатую поверхность, впитывающую большее количество влаги, чем колотый. Лучшим считается колотый гонт из прямоствольной смолистой сосны.

Читать дальше
Тёмная тема
Сбросить

Интервал:

Закладка:

Сделать

Похожие книги на «Строим баню»

Представляем Вашему вниманию похожие книги на «Строим баню» списком для выбора. Мы отобрали схожую по названию и смыслу литературу в надежде предоставить читателям больше вариантов отыскать новые, интересные, ещё непрочитанные произведения.


Отзывы о книге «Строим баню»

Обсуждение, отзывы о книге «Строим баню» и просто собственные мнения читателей. Оставьте ваши комментарии, напишите, что Вы думаете о произведении, его смысле или главных героях. Укажите что конкретно понравилось, а что нет, и почему Вы так считаете.