Nikola Tesla - Nikola Tesla - Ultimate Collection - 70+ Scientific Works, Lectures & Essays

Здесь есть возможность читать онлайн «Nikola Tesla - Nikola Tesla - Ultimate Collection - 70+ Scientific Works, Lectures & Essays» — ознакомительный отрывок электронной книги совершенно бесплатно, а после прочтения отрывка купить полную версию. В некоторых случаях можно слушать аудио, скачать через торрент в формате fb2 и присутствует краткое содержание. Жанр: unrecognised, на английском языке. Описание произведения, (предисловие) а так же отзывы посетителей доступны на портале библиотеки ЛибКат.

Nikola Tesla - Ultimate Collection: 70+ Scientific Works, Lectures & Essays: краткое содержание, описание и аннотация

Предлагаем к чтению аннотацию, описание, краткое содержание или предисловие (зависит от того, что написал сам автор книги «Nikola Tesla - Ultimate Collection: 70+ Scientific Works, Lectures & Essays»). Если вы не нашли необходимую информацию о книге — напишите в комментариях, мы постараемся отыскать её.

e-artnow presents to you this meticulously edited book which present the incredible research, inventions and legacy of Nikola Tesla:
Content
My Inventions – Autobiography of Nikola Tesla
Lectures:
A New System of Alternate Current Motors and Transformers
Experiments with Alternate Currents of Very High Frequency and Their Application to Methods of Artificial Illumination
Experiments with Alternate Currents of High Potential and High Frequency
On Light and Other High Frequency Phenomena
On Electricity
My Submarine Destroyer
High Frequency Oscillators for Electro-Therapeutic and Other Purposes
Scientific Articles:
Swinburne's «Hedgehog» Transformer
Phenomena of Alternating Currents of Very High Frequency
Alternate Current Electrostatic Induction Apparatus
An Electrolytic Clock
Electric Discharge in Vacuum Tubes
Notes on a Unipolar Dynamo
The «Drehstrom» Patent
The Ewing High-Frequency Alternator and Parson's Steam Engine
On the Dissipation of the Electrical Energy of the Hertz Resonator
The Physiological and Other Effects of High Frequency Currents
Nikola Tesla – About His Experiments in Electrical Healing
The Age of Electricity
The Problem of Increasing Human Energy
Talking with Planets
Can Bridge the Gap to Mars
Little Aeroplane Progress
How to Signal to Mars
The Transmission of Electric Energy Without Wires
The Wonder World to Be Created by Electricity
Nikola Tesla Sees a Wireless Vision
Correction by Mr. Tesla
The True Wireless
On Reflected Roentgen Rays
On Roentgen Radiations
Roentgen Ray Investigations
Tuned Lightning
Tesla's Wireless Torpedo
Tesla's Tidal Wave to Make War Impossible
Possibilities of Wireless
My Apparatus, Says Tesla
Mr. Tesla's Vision
Wonders of the Future
Electric Drive for Battle Ships
A Lighting Machine on Novel Principles
Electrical Oscillators…
Letters to Magazine Editors
The Inventions, Researches and Writings of Nikola Tesla by T. C. Martin

Nikola Tesla - Ultimate Collection: 70+ Scientific Works, Lectures & Essays — читать онлайн ознакомительный отрывок

Ниже представлен текст книги, разбитый по страницам. Система сохранения места последней прочитанной страницы, позволяет с удобством читать онлайн бесплатно книгу «Nikola Tesla - Ultimate Collection: 70+ Scientific Works, Lectures & Essays», без необходимости каждый раз заново искать на чём Вы остановились. Поставьте закладку, и сможете в любой момент перейти на страницу, на которой закончили чтение.

Тёмная тема
Сбросить

Интервал:

Закладка:

Сделать

There are two more features upon which I think it necessary to dwell in connection with these experiments—the "radiant state" and the "non-striking vacuum."

Any one who has studied Crookes' work must have received the impression that the "radiant state" is a property of the gas inseparably connected with an extremely high degree of exhaustion. But it should be remembered that the phenomena observed in an exhausted vessel are limited to the character and capacity of the apparatus which is made use of. I think that in a bulb a molecule, or atom, does not precisely move in a straight line because it meets no obstacle, but because the velocity imparted to it is sufficient to propel it in a sensibly straight line. The mean free path is one thing, but the velocity—the energy associated with the moving body—is another, and under ordinary circumstances I believe that it is a mere question of potential or speed. A disruptive discharge coil, when the potential is pushed very far, excites phosphorescence and projects shadows, at comparatively low degrees of exhaustion. In a lightning discharge, matter moves in straight lines as ordinary pressure when the mean free path is exceedingly small, and frequently images of wires or other metallic objects have been produced by the particles thrown off in straight lines.

I have prepared a bulb to illustrate by an experiment the correctness of these - фото 49

I have prepared a bulb to illustrate by an experiment the correctness of these assertions. In a globe L (Fig. 31) I have mounted upon a lamp filament f a piece of lime l . The lamp filament is connected with a wire which leads into the bulb, and the general construction of the latter is as indicated in Fig. 19, before described. The bulb being suspended from a wire connected to the terminal of the coil, and the latter being set to work, the lime piece l and the projecting parts of the filament f are bombarded. The degree of exhaustion is just such that with the potential the coil is capable of giving phosphorescence of the glass is produced, but disappears as soon as the vacuum is impaired. The lime containing moisture, and moisture being given off as soon as heating occurs, the phosphorescence lasts only for a few moments. When the lime has been sufficiently heated, enough moisture has been given off to impair materially the vacuum of the bulb. As the bombardment goes on, one point of the lime piece is more heated than other points, and the result is that finally practically all the discharge passes through that point which is intensely heated, and a white stream of lime particles (Fig. 31) then breaks forth from that point. This stream is composed of "radiant" matter, yet the degree of exhaustion is low. But the particles move in straight lines because the velocity imparted to them is great, and this is due to three causes—to the great electric density, the high temperature of the small point, and the fact that the particles of the lime are easily torn and thrown off—far more easily than those of carbon. With frequencies such as we are able to obtain, the particles are bodily thrown off and projected to a considerable distance; but with sufficiently high frequencies no such thing would occur: in such case only a stress would spread or a vibration would be propagated through the bulb. It would be out of the question to reach any such frequency on the assumption that the atoms move with the speed of light; but I believe that such a thing is impossible; for this an enormous potential would be required. With potentials which we are able to obtain, even with a disruptive discharge coil, the speed must be quite insignificant.

As to the "non-striking vacuum," the point to be noted is that it can occur only with low frequency impulses, and it is necessitated by the impossibility of carrying off enough energy with such impulses in high vacuum since the few atoms which are around the terminal upon coming in contact with the same are repelled and kept at a distance for a comparatively long period of time, and not enough work can be performed to render the effect perceptible to the eye. If the difference of potential between the terminals is raised, the dielectric breaks down. But with very high frequency impulses there is no necessity for such breaking down, since any amount of work can be performed by continually agitating the atoms in the exhausted vessel, provided the frequency is high enough. It is easy to reach—even with frequencies obtained from an alternator as here used—a stage at which the discharge does not pass between two electrodes in a narrow tube, each of these being connected to one of the terminals of the coil, but it is difficult to reach a point at which a luminous discharge would not occur around each electrode.

A thought which naturally presents itself in connection with high frequency currents, is to make use of their powerful electro-dynamic inductive action to produce light effects in a sealed glass globe. The leading-in wire is one of the defects of the present incandescent lamp, and if no other improvement were made, that imperfection at least should be done away with. Following this thought, I have carried on experiments in various directions, of which some were indicated in my former paper. I may here mention one or two more lines of experiment which have been followed up.

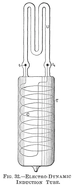
Many bulbs were constructed as shown in Fig. 32 and Fig. 33.

In Fig 32 a wide tube T was sealed to a smaller Wshaped tube U of - фото 50

In Fig. 32 a wide tube T was sealed to a smaller W-shaped tube U , of phosphorescent glass. In the tube T was placed a coil C of aluminium wire, the ends of which were provided with small spheres t and t 1of aluminium, and reached into the U tube. The tube T was slipped into a socket containing a primary coil through which usually the discharges of Leyden jars were directed, and the rarefied gas in the small U tube was excited to strong luminosity by the high-tension currents induced in the coil C . When Leyden jar discharges were used to induce currents in the coil C , it was found necessary to pack the tube T tightly with insulating powder, as a discharge would occur frequently between the turns of the coil, especially when the primary was thick and the air gap, through which the jars discharged, large, and no little trouble was experienced in this way.

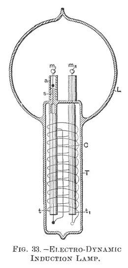
In Fig 33 is illustrated another form of the bulb constructed In this case a - фото 51

In Fig. 33 is illustrated another form of the bulb constructed. In this case a tube T is sealed to a globe L . The tube contains a coil C , the ends of which pass through two small glass tubes t and t 1, which are sealed to the tube T . Two refractory buttons m and m 1are mounted on lamp filaments which are fastened to the ends of the wires passing through the glass tubes t and t 1. Generally in bulbs made on this plan the globe L communicated with the tube T . For this purpose the ends of the small tubes t and t 1were just a trifle heated in the burner, merely to hold the wires, but not to interfere with the communication. The tube T , with the small tubes, wires through the same, and the refractory buttons m and m 1, was first prepared, and then sealed to globe L , whereupon the coil C was slipped in and the connections made to its ends. The tube was then packed with insulating powder, jamming the latter as tight as possible up to very nearly the end, then it was closed and only a small hole left through which the remainder of the powder was introduced, and finally the end of the tube was closed. Usually in bulbs constructed as shown in Fig. 33 an aluminium tube a was fastened to the upper end s of each of the tubes t and t 1, in order to protect that end against the heat. The buttons m and m 1could be brought to any degree of incandescence by passing the discharges of Leyden jars around the coil C . In such bulbs with two buttons a very curious effect is produced by the formation of the shadows of each of the two buttons.

Читать дальше
Тёмная тема
Сбросить

Интервал:

Закладка:

Сделать

Похожие книги на «Nikola Tesla - Ultimate Collection: 70+ Scientific Works, Lectures & Essays»

Представляем Вашему вниманию похожие книги на «Nikola Tesla - Ultimate Collection: 70+ Scientific Works, Lectures & Essays» списком для выбора. Мы отобрали схожую по названию и смыслу литературу в надежде предоставить читателям больше вариантов отыскать новые, интересные, ещё непрочитанные произведения.


Отзывы о книге «Nikola Tesla - Ultimate Collection: 70+ Scientific Works, Lectures & Essays»

Обсуждение, отзывы о книге «Nikola Tesla - Ultimate Collection: 70+ Scientific Works, Lectures & Essays» и просто собственные мнения читателей. Оставьте ваши комментарии, напишите, что Вы думаете о произведении, его смысле или главных героях. Укажите что конкретно понравилось, а что нет, и почему Вы так считаете.

x