Сергей Кашин - Советы по обустройству приусадебного участка. Разумно и просто

Здесь есть возможность читать онлайн «Сергей Кашин - Советы по обустройству приусадебного участка. Разумно и просто» — ознакомительный отрывок электронной книги совершенно бесплатно, а после прочтения отрывка купить полную версию. В некоторых случаях можно слушать аудио, скачать через торрент в формате fb2 и присутствует краткое содержание. Город: Москва, Год выпуска: 2015, ISBN: 2015, Издательство: Рипол классик, Жанр: Хобби и ремесла, Сад и огород, на русском языке. Описание произведения, (предисловие) а так же отзывы посетителей доступны на портале библиотеки ЛибКат.

Советы по обустройству приусадебного участка. Разумно и просто: краткое содержание, описание и аннотация

Предлагаем к чтению аннотацию, описание, краткое содержание или предисловие (зависит от того, что написал сам автор книги «Советы по обустройству приусадебного участка. Разумно и просто»). Если вы не нашли необходимую информацию о книге — напишите в комментариях, мы постараемся отыскать её.

Данное издание содержит большое количество практических рекомендаций по тому, как грамотно провести техническое оснащение своего приусадебного участка. Без лишних финансовых затрат вы научитесь делать компостный колодец, теплые грядки и многие другие вещи, без которых невозможно представить современный дачный участок.

Советы по обустройству приусадебного участка. Разумно и просто — читать онлайн ознакомительный отрывок

Ниже представлен текст книги, разбитый по страницам. Система сохранения места последней прочитанной страницы, позволяет с удобством читать онлайн бесплатно книгу «Советы по обустройству приусадебного участка. Разумно и просто», без необходимости каждый раз заново искать на чём Вы остановились. Поставьте закладку, и сможете в любой момент перейти на страницу, на которой закончили чтение.

Тёмная тема
Сбросить

Интервал:

Закладка:

Сделать

На крышу душа помещают бак, встраивают в него электрический тэн с терморегулятором и протягивают проводку. Оборудование для подачи воды лучше всего устроить из паяных полипропиленовых труб диаметром 25 мм. Их достаточно удобно монтировать и варить. К тому же в отличие от металлопластиковых труб в местах соединения они не имеют сужения. Водопроводную воду из центральной системы водоснабжения проводят металлопластиковыми трубами.

Следует отметить, что обычному баку со встроенным электрическим тэном существует более надежная альтернатива – готовые бочки, способные автоматически подогревать воду и предназначенные специально для дачных душей. Их вместимость может быть самой разнообразной от 45 до 220 л. Изготавливают такие баки из пищевого пластика, благодаря которому находящаяся в них вода очень долго не зацветает. Водонагревательные элементы, которыми оснащены баки, способствуют быстрому и эффективному подогреву воды за короткий промежуток времени.

Принцип работы у всех баков одинаковый. Электричество к ним подключено постоянно. Как только температура воды в баке опускается ниже установленной, срабатывает механизм, нагревающий воду до заданной температуры. Это происходит благодаря тому, что баки снабжены специальным термодатчиком, который позволяет контролировать температуру воды и не доводить ее до кипения. Воду можно подогреть до температуры от 20 до 80 °C.

Так же как и обычные бочки, баки с автоматическим подогревом воды устанавливают на крышу душа. В комплект бака входят душевая насадка и два штуцера для залива воды. Его наполнение водой из водопроводной системы или колодца производят с помощью погружного насоса «Малыш» или «Ручеек».

Горячий душ с водотрубным нагревателем

Горячий душ можно устроить с котельной, для которой оборудуют отдельное помещение, расположенное рядом с душевой. Размеры душевой кабины при этом могут быть обычными, а минимальные габариты котельной составляют 1 × 1,3 м. Такое сооружение рекомендуется устанавливать на фундамент из кирпича или бетона, который выкладывают по периметру всего душа с уклоном в сторону канализационной трубы.

Для нагрева воды в горячем душе используют водонагревательное устройство, которое может быть поверхностным, жаротрубным, водотрубным и комбинированным. Наиболее удобными и практичными являются два типа водонагревателя: жаротрубный и водотрубный.

Жаротрубный водонагреватель состоит из помещенной в кожух трубы большого диаметра, внутри которой располагается топка. Вода нагревается, циркулируя между трубой и кожухом, а затем поступает в душ. Как правило, работа нагревателей указанного типа основана на естественной циркуляции воды.

В зависимости от используемого топлива установить трубу жаротрубного водонагревателя можно как горизонтально, так и вертикально. Поскольку при сгорании древесного топлива образуется большое количество летучих веществ, жаровую трубу под него располагают вертикально. Если же для нагрева воды применяют жидкое топливо, трубу лучше всего расположить горизонтально. Если вода, которая поступает в водонагреватель, жесткая, то его один раз в месяц следует чистить с помощью стальной щетки или скребка.

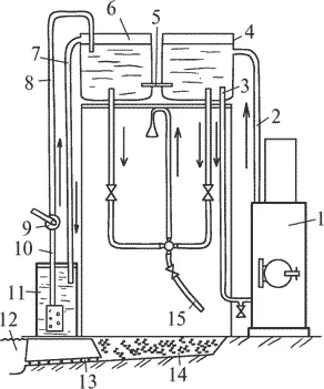
Преимущество водотрубного нагревателя заключается в более быстром нагреве воды, поскольку она циркулирует по трубам небольшого диаметра, которые установлены непосредственно в топке (рис. 72).

Рис 72 Устройство горячего душа с водотрубным нагревателем 1 - фото 77

Рис. 72. Устройство горячего душа с водотрубным нагревателем: 1 – водонагреватель; 2 – восходящая труба; 3 – нисходящая труба; 4 – напорный бак; 5 – соединительная труба; 6 – напорный бак холодной воды; 7 – контрольная сливная труба; 8 – напорная труба; 9 – ручной насос; 10 – водозаборная труба; 11 – питательный бак; 12 – сточная яма; 13 – сточная труба; 14 – приямок; 15 – шланг для мытья ног

Имеющиеся в продаже водотрубные нагреватели рассчитаны на принудительную циркуляцию воды. Аналогичную колонку, только с естественной циркуляцией воды, можно изготовить самостоятельно. Ее основу составляют два бака емкостью 50–100 л, изготовленные из нержавеющей стали: питательный и напорный. С помощью ручного насоса вода осуществляется подача воды из питательного бака в напорный, где ее уровень контролируется сливной трубой. После заполнения системы водой, включается в работу водонагреватель. За неимением ручного насоса, воду в напорный бак из сливного можно заливать ведром. В таком случае отпадает необходимость в проведении трубы между этими двумя баками.

Читать дальше
Тёмная тема
Сбросить

Интервал:

Закладка:

Сделать

Похожие книги на «Советы по обустройству приусадебного участка. Разумно и просто»

Представляем Вашему вниманию похожие книги на «Советы по обустройству приусадебного участка. Разумно и просто» списком для выбора. Мы отобрали схожую по названию и смыслу литературу в надежде предоставить читателям больше вариантов отыскать новые, интересные, ещё непрочитанные произведения.


Отзывы о книге «Советы по обустройству приусадебного участка. Разумно и просто»

Обсуждение, отзывы о книге «Советы по обустройству приусадебного участка. Разумно и просто» и просто собственные мнения читателей. Оставьте ваши комментарии, напишите, что Вы думаете о произведении, его смысле или главных героях. Укажите что конкретно понравилось, а что нет, и почему Вы так считаете.

x