Владимир Захарченко - Современные потолки своими руками

Здесь есть возможность читать онлайн «Владимир Захарченко - Современные потолки своими руками» — ознакомительный отрывок электронной книги совершенно бесплатно, а после прочтения отрывка купить полную версию. В некоторых случаях можно слушать аудио, скачать через торрент в формате fb2 и присутствует краткое содержание. Город: М., Год выпуска: 2013, ISBN: 2013, Издательство: Array Литагент «РИПОЛ», Жанр: Хобби и ремесла, Сделай сам, на русском языке. Описание произведения, (предисловие) а так же отзывы посетителей доступны на портале библиотеки ЛибКат.

Современные потолки своими руками: краткое содержание, описание и аннотация

Предлагаем к чтению аннотацию, описание, краткое содержание или предисловие (зависит от того, что написал сам автор книги «Современные потолки своими руками»). Если вы не нашли необходимую информацию о книге — напишите в комментариях, мы постараемся отыскать её.

Отделка потолка является важным этапом в ремонте жилого или офисного помещения. Эта книга поможет выбрать наиболее подходящий вид потолочной отделки или фальш-потолка, отвечающих современным требованиям. Инструкция и рисунки облегчат выполнение подготовительных, монтажных и отделочных работ с потолком.

Современные потолки своими руками — читать онлайн ознакомительный отрывок

Ниже представлен текст книги, разбитый по страницам. Система сохранения места последней прочитанной страницы, позволяет с удобством читать онлайн бесплатно книгу «Современные потолки своими руками», без необходимости каждый раз заново искать на чём Вы остановились. Поставьте закладку, и сможете в любой момент перейти на страницу, на которой закончили чтение.

Тёмная тема
Сбросить

Интервал:

Закладка:

Сделать
Рисунок 20 Отделка потолка плинтусом Подготовка краски Перед тем как - фото 27

Рисунок 20. Отделка потолка плинтусом

Подготовка краски

Перед тем как приступить к окрашиванию, краску тщательно размешивают. Чтобы придать ей необходимую консистенцию, добавляют в нее 5–15 % воды от ее количества.

С помощью электродрели с насадкой краску с водой смешивают до получения однородного состава. Если краска окажется слишком густой, то при покраске валиком на потолке будут оставаться утолщенные следы и потолок не будет выглядеть идеально.

Особенности окрашивания потолка

Красить потолок можно разными способами. Для этого используют малярные кисти, валики, краскопульты (рис. 21). В каждом случае окрашивание имеет определенные особенности.

Рисунок 21 Малярные инструменты В труднодоступных местах окрашивать удобнее - фото 28

Рисунок 21. Малярные инструменты

В труднодоступных местах окрашивать удобнее кистью. Краску наносят размашистыми движениями, но не разбрызгивая ее во все стороны. Кисти должны быть хорошего качества, чтобы из них не выпадал ворс и не оставался на потолке.

Сначала красят потолок в углах комнаты, вокруг отверстия для электропроводки, вдоль стен полосой 5 см, заодно окрашивают потолочные плинтусы (рис. 22). Далее работу удобнее и быстрее продолжать валиком. Полосы по краям потолка позволят не задевать валиком стены и выполнить работу аккуратно.

Рисунок 22 Окрашивание потолочного плинтуса Валик для окрашивания потолка - фото 29

Рисунок 22. Окрашивание потолочного плинтуса

Валик для окрашивания потолка предпочтительнее с длинными ворсом и ручкой (рис. 23). Поролоновый валик в данном случае лучше не использовать. Для того чтобы можно было легко обмакивать валик в краску, надо перелить ее в ванночку подходящего размера (рис. 24). В свободной емкости возможно прокатывать валик в разные стороны и таким образом хорошо пропитывать его краской. Чтобы удалить с валика избыток краски, надо прокатить его по стенке ванночки. Для равномерного пропитывания валика краской можно прокатывать его по куску линолеума или оргалита.

Рисунок 23 Окрашивание потолка валиком Рисунок 24 Валик и ванночка для - фото 30

Рисунок 23. Окрашивание потолка валиком

Рисунок 24 Валик и ванночка для малярных работ Красить валиком начинают от - фото 31

Рисунок 24. Валик и ванночка для малярных работ

Красить валиком начинают от окна. Краску наносят параллельными полосами, каждая из которых наполовину ложится на предыдущую. При этом нельзя допускать высыхания полосы краски, иначе получится два слоя и это место будет выделяться на потолке. Если по краям полос скапливается много краски, то ее нужно тут же раскатать валиком, пока она не высохла. Нельзя многократно прокатывать валиком по одному месту. Это может привести к намоканию шпатлевки и повредит потолок.

Во время высыхания краски недопустимы в комнате сквозняки. Краска должна просохнуть равномерно естественным путем. На сквозняке ее верхний слой быстро подсохнет, в то время как в глубине она плохо застынет. Это приведет впоследствии к растрескиванию и отслоению краски.

Белые потолки традиционно часто встречаются ею многих домах Они лучше - фото 32

Белые потолки традиционно часто встречаются ею многих домах. Они лучше смотрятся после окрашивания матовой краской. Идеально розная белоснежная поверхность приятна для глаз и кажется воздушной.

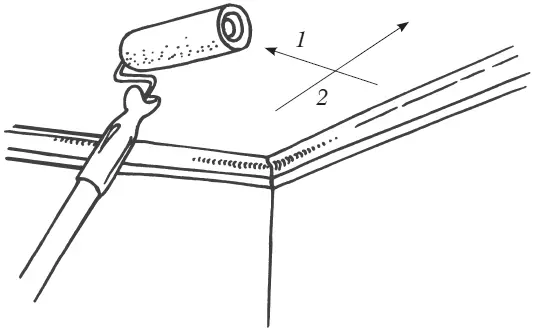
После высыхания первого слоя окрашивание повторяют. При этом красят уже в перпендикулярном направлении – вдоль окна (рис. 25). Такая техника позволяет создать ровный, равномерно окрашенный потолок без наплывов краски. В зависимости от температуры воздуха в помещении, каждый слой краски сохнет 4–8 ч. Покраску потолка обычно выполняют в два слоя. Если, по каким-либо причинам, это необходимо, то наносят и третий слой краски. Он должен быть направлен перпендикулярно предыдущему слою. Покраска потолка в большой комнате не должна занимать более 30 мин. Этого времени достаточно для проведения двухслойного окрашивания.

Рисунок 25 Направления нанесения слоев краски Чтобы оценить качество работы - фото 33

Рисунок 25. Направления нанесения слоев краски

Читать дальше
Тёмная тема
Сбросить

Интервал:

Закладка:

Сделать

Похожие книги на «Современные потолки своими руками»

Представляем Вашему вниманию похожие книги на «Современные потолки своими руками» списком для выбора. Мы отобрали схожую по названию и смыслу литературу в надежде предоставить читателям больше вариантов отыскать новые, интересные, ещё непрочитанные произведения.


Отзывы о книге «Современные потолки своими руками»

Обсуждение, отзывы о книге «Современные потолки своими руками» и просто собственные мнения читателей. Оставьте ваши комментарии, напишите, что Вы думаете о произведении, его смысле или главных героях. Укажите что конкретно понравилось, а что нет, и почему Вы так считаете.

x